Dodaj produkty podając kody
Dodaj plik CSV
Wpisz kody produktów, które chcesz zbiorczo dodać do koszyka (po przecinku, ze spacją lub od nowej linijki).
Powtórzenie wielokrotnie kodu, doda ten towar tyle razy ile razy występuje.
Etykieta


P101S140L0004 Frez nasadzany profilowy P-101 140x30/30 z=4.0 HSS zaokrąglanie krawędzi promieniem R
Specyfikacja
Marka
Symbol
P101S140L0004
Dane podstawowe
Typ
P-101
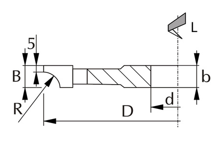
D [mm]
140
B [mm]
30
b[mm]
29
d[mm]
30
z
4.0
Typ ostrza
HSS
Typ narzędzia
Frez nasadzany profilowy
Dane techniczne
R
25
Kierunek obrotów
Lewy
Zastosowanie
zaokrąglanie krawędzi promieniem R
Frezowanie
drewna litego miękkiego
Maksymalne obroty [obr/min]
9000
Posuw zalecany
MECH
Zapytaj o produkt
Napisz swoją opinię







