Dodaj produkty podając kody
Dodaj plik CSV
Wpisz kody produktów, które chcesz zbiorczo dodać do koszyka (po przecinku, ze spacją lub od nowej linijki).
Powtórzenie wielokrotnie kodu, doda ten towar tyle razy ile razy występuje.
Etykieta


P105W125-0005 Frez nasadzany profilowy P-105 125x20/30 z=4.0 HM profilowanie żłobka promieniem R
Specyfikacja
Marka
Symbol
P105W125-0005
Dane podstawowe
Typ
P-105
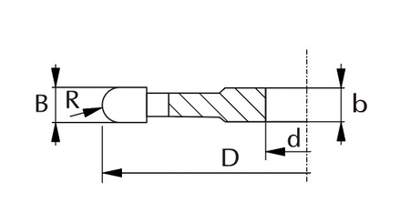
D [mm]
125
B [mm]
20
b[mm]
18
d[mm]
30
z
4.0
Typ ostrza
HM
Typ narzędzia
Frez nasadzany profilowy
Dane techniczne
R
10
Kierunek obrotów
-
Zastosowanie
profilowanie żłobka promieniem R
Frezowanie
drewna twardego
drewna klejonego
sklejki
płyt wiórowych
płyt wiórowych okleinowanych
laminatów
płyt wiórowych fornirowanych
płyt MDF
Maksymalne obroty [obr/min]
9000
Posuw zalecany
MECH
Zapytaj o produkt
Napisz swoją opinię







